| 公司 | 聯系人 | 聯系電話 | 業務郵箱 |
| 深圳總公司 | 符總 | 139 2461 8582 | [email protected] |
| 東莞分公司 | 符總 | 139 2461 8582 | [email protected] |
| 羅經理 | 138 2723 8504 | ||
| 上海分公司 | 符總 | 136 5168 6829 | [email protected] |
| 符經理 | 139 1632 4191 | ||
| 湖南分公司 | 符總 | 138 7504 3999 | [email protected] |
| 黃經理 | 138 0961 9295 | ||
| 北京分公司 | 符經理 | 138 1006 2418 | [email protected] |
| 昆山分公司 | 符總 | 136 5168 6829 | [email protected] |
| 寧波分公司 | 李經理 | 138 5830 3164 | [email protected] |
一、LED光源UV機主要技術參數
1、外形尺寸(約):總長1000*高1750*寬750mm;進、出料口各長100mm,UV光固區長800mm;輸送帶離地面高970±25mm可調節。
2、有效尺寸:輸送帶寬50-450mm可調節;有效照射面積150*150mm;
3、UV光源:采用SL-150型光源,日本日亞芯片,可無級調光。180W光源/1套,主峰波長365nm,光照強度500mw/cm2,能量照射5S約2000mj/cm2。
4、固化方式:平面照射型;
5、生產節拍:≤20S/pcs;
6、電源:三相五線制,380V,50HZ;
7、總功率:500W;
二、LED光源UV機爐體結構特征
1、外殼材料:采用1.5mm厚Q235冷軋鋼板(強度、塑性和焊接綜合性能最好)折彎焊接制作;
2、表面處理:表面打磨、拋光、磷化(可以增加金屬的耐蝕性,油漆的附著力)處理后;高溫噴塑(大波紋型),可防止生銹,耐腐蝕。顏色為“電腦灰”。
3、密封材料:密封條采用“3M”阿姆斯條膠,可有效遮光,加強密封效果;
4、UV燈調節機構:采用鋸齒調節方式,可自由調節燈管的高與角度,燈管高度50-200mm可調節,每套燈管可單獨調節;
5、遮光部分:進出料口,配有調節高度檔板及遮光簾,有效防止紫外線外漏;
三、LED光源UV機控制系統
1、傳動馬達:廈門精研200W無極調速電機調節速度,配線速度表,顯示實際速度;
2、冷卻系統:40W軸流式小風扇一臺;
3、急停開關:機頭、機尾裝有急停開關,各一個,按下整機停止;電源off時,機器全部停止工作
四、LED光源UV機環境條件
1、環境溫度:0℃-40℃;
2、相對濕度:85%RH;
3、電源:AC380V±10%,50Hz;
五、LED光源UV機培訓
免費進行技術培訓。
| 獨特性能 | 客戶可選配置 |
|
UV能量更高,涂膜穿透能力更強;
聚光設計,進口高聚光反光燈罩,瞬時干燥,速度特快;
燈箱內部特殊設計的通風系統;
各燈皆可調節上下角度、高度;
輸送帶無極調速,輸送速度平穩可調;
傳動網帶自動調整裝置,有效防止跑偏;
燈管異常保護裝置。
全、半燈切換,合理省電。
|
進口UV光源
國產UV光源
顏色選擇圖例
![]() 客戶可以依照色卡指定色彩制作。
|
| ※根據固化產品設計不同固化設備,材質有烤漆、電鍍彩鋅、不銹鋼等,尺寸、規格可非標訂制,歡迎來電咨詢。 | |
| 控制系統選配 | |
| 按鈕開關控制 | 觸摸屏人機界面 |
| UV燈管選配 | |
| 國產UV燈管(汞燈、鹵素燈) | 進口UV燈管(汞燈、鹵素燈) |
| 變壓器選配 | |
| 銅線 | 鋁線 |
| 輸送帶選配 | ||
| 不銹鋼網帶 | 鐵氟龍網/布帶 | 附件鏈傳送帶 |
| 鏈板輸送帶 | 雙節距鏈條穿桿傳送帶 | PCB專用輸送鏈 |
| 玻璃行業專用傳送系統 | PVC皮帶 | 耐高溫帆布傳送帶 |
| 滾輪輸送 | 滾筒式輸送 | 非標定制輸送系統 |
| 冷卻系統選配 | ||
| 風冷 | 制冷 | 水冷 |
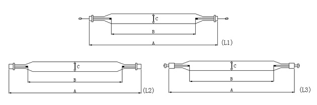
| 序號 | 圖號 | 功率 | 工件電壓(V) | 工作電流(A) | 全長A | 極距B | 管徑C | 功率密度(W/mm) | 備注 |
| 1 | L3 | 1KW | 135 | 8.1 | 335 | 200 | 25 | 50 | 220V電源 |
| 2 | L1 | 1KW | 135 | 8.1 | 230 | 125 | 25 | 80 | 220V電源 |
| 3 | L2 | 1.6KW | 285 | 5.6 | 360 | 204 | 25 | 80 | 220V電源 |
| 4 | L2 | 2KW | 300 | 7.5 | 400 | 250 | 22.5 | 80 | 380V電源 |
| 5 | L1 | 2.5KW | 420 | 6.3 | 473 | 305 | 22.5 | 80 | |
| 6 | L3 | 3KW | 700 | 5 | 620 | 460 | 22.5 | 65 | |
| 7 | L1 | 3KW | 700 | 5 | 360 | 250 | 25 | 120 | |
| 8 | L2 | 3.2KW | 290 | 12.2 | 360 | 264 | 25 | 120 | |
| 9 | L1 | 4KW | 670 | 6.3 | 664 | 508 | 22.5 | 80 | |
| 10 | L1 | 5KW | 700 | 7.8 | 700 | 600 | 25 | 80 | |
| 11 | L1 | 5KW | 750 | 7.5 | 725 | 625 | 22.5 | 80 | |
| 12 | L1 | 5KW | 750 | 7.5 | 775 | 625 | 22.5 | 80 | |
| 13 | L2 | 5KW | 850 | 6.3 | 804 | 653 | 20.5 | 80 | |
| 14 | L1 | 5.6KW | 950 | 7.2 | 826 | 673 | 25 | 80 | |
| 15 | L1 | 5.6KW | 840 | 7.5 | 850 | 770 | 22.5 | 80 | |
| 16 | L3 | 6KW | 950 | 7.5 | 910 | 745 | 25 | 80 | |
| 17 | L1 | 7.5KW | 925 | 8.8 | 803 | 653 | 22.5 | 120 | |
| 18 | L1 | 8KW | 1200 | 7.5 | 1150 | 1000 | 22.5 | 80 | |
| 19 | L1 | 8.4KW | 950 | 10.4 | 826 | 700 | 25 | 120 | |
| 20 | L1 | 9.6KW | 1570 | 6.6 | 1387 | 1247 | 25 | 80 | |
| 21 | L1 | 11KW | 1870 | 6.3 | 1575 | 1419 | 25 | 80 | |
| 22 | L1 | 13KW | 1870 | 7.5 | 1807 | 1651 | 25 | 80 |


